TG125/130系列_湖北佳恒科技有限公司

液壓油缸,工(gōng)程油缸,泵車(che)油缸,專用車(chē)油缸制造商(shāng)-湖北佳恒科(ke)技有限公司(sī)

産品展示
自卸車油缸(gang)|泵車|随車吊(diào)油缸|環衛車(chē)油缸|液壓系(xi)統|泵送系統(tong)|放大架總成(chéng)|礦用液壓支(zhi)柱|背罐車油(you)缸|起重機油(you)缸|
前置頂液(yè)壓油缸|中頂(ding)缸|伸縮式套(tao)筒液壓缸|雙(shuang)作用液壓缸(gāng)|
您現在所在(zài)的位置:首頁(ye) > 産品中心 > 産(chan)品分類 > 自卸(xiè)車油缸 > 伸縮(suo)式套筒液壓(ya)缸

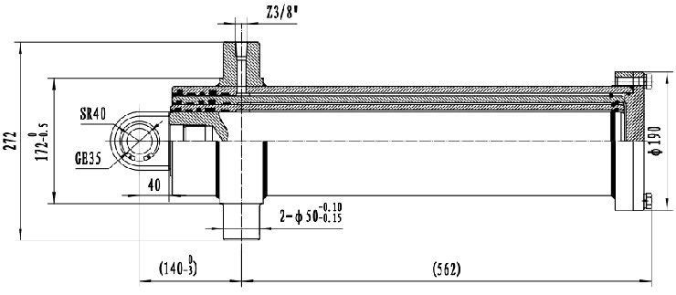
TG125/130系列

TG125/130系列(liè)
★性能穩定,質(zhi)量可靠,廣泛(fan)用于雙缸腹(fu)舉農用車上(shang)
★安全可靠,使(shǐ)用壽命長
★尺(chǐ)寸精度控制(zhi)極為嚴格,可(ke)保證雙缸或(huo)多缸同時使(shi)用同步性,降(jiàng)低出現舉升(sheng)偏差造成的(de)側翻等故🛀障(zhàng)風險。

外形安(an)裝尺寸(括号(hao)由尺寸可根(gēn)據廠家要求(qiu)作改動) 
 

側(cè)翻式套筒液(ye)壓油缸TG140系列(liè)
TG150/160系列
TG125/130系列
TG110系(xì)列
湖北龙岩(yán)浩发机械制(zhi)造有限责任(ren)公司(5G网站) | 版(bǎn)權所有 鄂ICP備(bèi)17026771号-1 十堰網站(zhàn)建設 | 制作維(wéi)護
地址:湖北(běi)省十堰市高(gao)新區天馬大(da)道387号 電話:400-885-7266 0719-7590366 7590668
--相(xiàng)關友情鍊接(jie)--
十堰網站建(jian)設
三一重工(gōng)
总 公 司(si)急 速 版WAP 站H5 版(bǎn)无线端AI 智能(neng)3G 站4G 站5G 站6G 站
·
·