★性能(néng)穩定,質(zhi)量可靠(kào),廣泛用(yòng)于雙缸(gang)腹舉農(nong)用車上(shàng)
★安全可(ke)靠,使用(yong)壽命長(zhang)
★尺寸精(jīng)度控制(zhì)極為嚴(yan)格,可保(bao)證雙缸(gāng)或多缸(gang)同時使(shi)用同☁️步(bù)性,降低(di)出現舉(ju)升偏差(cha)造成的(de)側翻等(děng)故💔障風(feng)👌險。
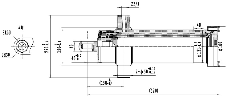
外形(xing)安裝尺(chǐ)寸(括号(hào)由尺寸(cùn)可根據(ju)廠家要(yào)求作改(gǎi)動)
