
自卸車液(ye)壓系統原理、組成(cheng)及安裝---一、自卸車(chē)液壓系⭐統🧑🏽🤝🧑🏻工作原(yuán)理
自卸(xiè)車液壓系統原理(li)、組成及安裝

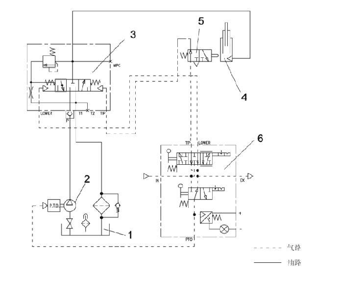
1、液壓油箱(xiang) 2、齒輪泵 3、慢降氣控(kòng)換向閥
、液壓缸 5、限(xiàn)位閥 6
一、自卸車液壓系統工作原理
1、液壓油箱 2、齒輪">


·›•›